少儿编程 > 文章资讯 > 机器人 > 亚马逊设想建造巨型无人机塔 加速快递投递
亚马逊设想建造巨型无人机塔 加速快递投递
童程童美 2017-06-26
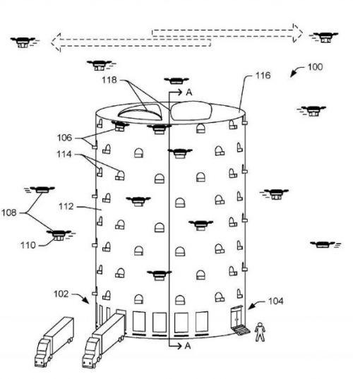
6月23日消息,据国外媒体报道,亚马逊在无人机送货方面有一些卓越的想法。这家电子商务巨头提出了“多层次运营中心”专利申请,允许无人机在城市地区投递包裹。
摘要6月23日消息,据国外媒体报道,亚马逊在无人机送货方面有一些卓越的想法。这家电子商务巨头提出了“多层次运营中心”专利申请,允许无人机在城市地区投递包裹。基本上,这听起来就像是一个巨大的机器人驱动的塔,可以让无人机在城市周围运送包裹时方便地进出。
美国专利和商标局于当地时间周四公布的专利申请中,亚马逊在专利申请中说:“有一种“对于在城市内建立运营中心有不断增长的需求和愿望,例如在市区和城市人口稠密的地区。”
其他的专利申请,包括无人机的性能和噪音控制。
亚马逊没有立即回复记者的置评请求。
当然,专利并不能保证无人机塔成为现实,但亚马逊近年来一直在追求无人机的交付。
今年3月,该公司的无人机送货部门亚马逊Prime Air在美国上市。亚马逊、UPS、谷歌以及其他一些公司也在开发无人机送货技术,希望能更快、更便宜地向客户运送货物。
