少儿编程 > 文章资讯 > 机器人 > 沃尔玛黑科技:用店内无人机为顾客挑选商品
沃尔玛黑科技:用店内无人机为顾客挑选商品
童程童美 2017-04-13
据外媒报道,近日沃尔玛的一项专利申请获得了批准,该专利名为“在零售实体店内搬运商品的方式”,即在店内使用无人机为顾客运送和挑选商品。
摘要据外媒报道,近日沃尔玛的一项专利申请获得了批准,该专利名为“在零售实体店内搬运商品的方式”,即在店内使用无人机为顾客运送和挑选商品。
沃尔玛黑科技曝光(图片来自cnBeta)
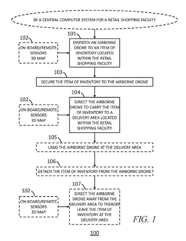
沃尔玛专利文件中描述,顾客提出的送货要求会通过显示屏或文本信息发送给工作人员,工作人员再将指定商品放到无人机上,由无人机将商品带到指定区域投放。等待着的顾客即可直接获取库房商品,而无人机送完货物之后将继续进行下一项任务或在待命区等待新任务并充电。
专利中信息显示,这种无人机配备了“一个或多个机载传感器,”以探测其飞行路径中的障碍物,同时使用了GPS和3D地图构建系统以确定店内飞行路线。专利中还提出了几种让无人机从A点飞行到B点的方法,其中一种是通过一台中央计算机系统来指挥无人机飞行。
还有一种是设计闭合线路,让无人机始终沿着该线路飞行。 出于安全考虑,无人机将从货架而非人行通道上方飞行。另外,沃尔玛还计划开设若干窗口,以方便无人机穿梭于公共销售区和非公共库房区。
不过沃尔玛并没有透露这种无人机以及这种送货方式将在何时发布推广,或许这仅是沃尔玛做的技术储备而已。
