少儿编程 > 文章资讯 > 3D打印 > 洛克希德马丁正式将钻石3D打印技术投入研发
洛克希德马丁正式将钻石3D打印技术投入研发
童程童美 2016-09-27
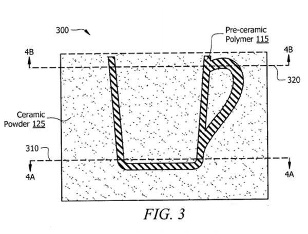
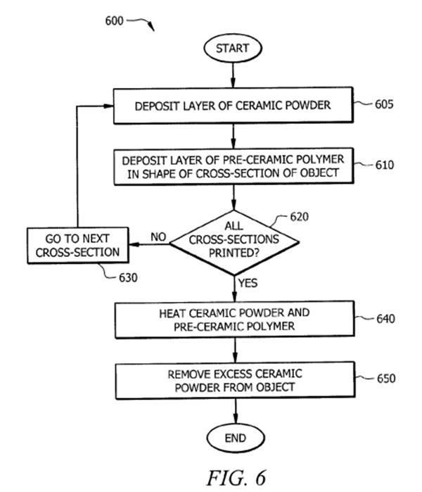
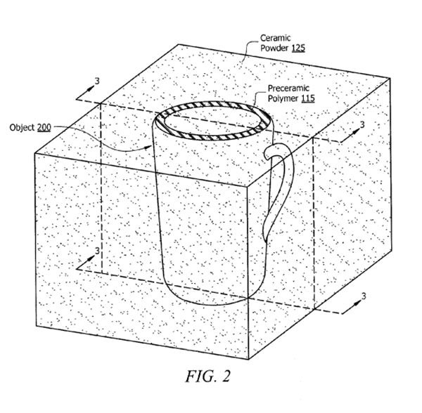
就在不久前,美国航天军工巨头洛克希德·马丁为一种新型的3D打印技术申请了专利,该技术据称可以打印出任何形状的人造钻石对象。据称该技术将主要用于开发诸如超强钻头、轻型装甲、刀、锯这样的工具,不过也可以用来定制珠宝首饰等。
摘要就在不久前,美国航天军工巨头洛克希德·马丁为一种新型的3D打印技术申请了专利,该技术据称可以打印出任何形状的人造钻石对象。据称该技术将主要用于开发诸如超强钻头、轻型装甲、刀、锯这样的工具,不过也可以用来定制珠宝首饰等。
目前,著名航天航天国防公司Lockheed Martin已经打算将这项专利正式投入应用当中。他们采用3D打印技术和合成钻石,来为人们提供更理想的钻石。虽然是合成钻石,但是Lockheed Martin公司采用的钻石3D打印机几乎能够做到与真正的钻石一致。
据了解,Lockheed Martin公司的3D打印机能够打造各种复杂的几何图形。这或许可以为钻石市场开拓一个全新的方向,一方面为预算不够的人提供简易的低价钻石,另一方面为土豪们提供高端定制钻石。虽然钻石3D打印机的成本会很高,但是这样有趣的体验相信会吸引很多的投资商。
