少儿编程 > 文章资讯 > 3D打印 > 微软混合CMYKW材料的全彩3D打印专利申请成功
微软混合CMYKW材料的全彩3D打印专利申请成功
童程童美 2016-12-05
如今越来越多的人希望在家里舒适地完成多色3D打印,而不必害怕颜色之间互染。要想实现多色打印就需要有双挤出机,而现在拥有双挤出机的FDM 3D打印机也越来越多。但是最近,微软公司开始在另一方面采取进一步的发展措施,并研发了一项新的3D打印技术。
摘要如今越来越多的人希望在家里舒适地完成多色3D打印,而不必害怕颜色之间互染。要想实现多色打印就需要有双挤出机,而现在拥有双挤出机的FDM 3D打印机也越来越多。但是最近,微软公司开始在另一方面采取进一步的发展措施,并研发了一项新的3D打印技术。
据童程童美了解,微软研发的这项新的3D打印技术可以用3D打印材料与2D打印机的CMYKW材料结合,实现全彩3D打印。当然,这项新的技术或许不能立即转化成3D打印硬件,但是抢先一步申请专利就可以将对手甩在后面。这项技术是由Yulin Jin、Emmett Lalish、Kris N. Iverson、Jesse McGatha和Shanen J. Boettcher代表微软科技公司提交申请的,并被美国专利局批准为专利9434108号。
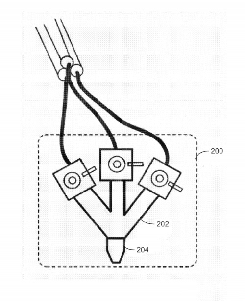
那么,这项技术具体是怎么样的呢?简而言之,该技术涵盖了CMYKW里的所有颜色和所有可用的3D打印材料,通过计算机软件对CAD模型和3D打印对象进行设置,最终完成全色打印。虽然市面上已经有许多技术能够支持用户进行多色打印,但是却并没有实现全色打印。“与2D打印机不同,3D打印目前没有一种常规技术能够准确规定生产哪种颜色,也不能将全色模型转化为生产指令。这些种种因素都抑制了全色3D打印的发展。”微软团队表示。
为了克服一些技术上的困难,微软团队将所有的颜色信息附加到每个多边形的每个切片层上,使其每一层的颜色和纹理都实现过渡。这项技术在实现了全色打印的同时,还没有对3D打印材料的材质设限,因此用户将有更多的选择。而在一个多棱角的多色打印件的完成过程中,将首先完成一个颜色的打印再换其他颜色,最终外部的图层看起来会很平滑。此外,过渡材料将沉积在填充和支撑区域。
虽然目前听上去是挺不错的,但要实际操作这么大量的3D打印数据却并不是很简单。因此,微软这项技术还设定了一种非特定材料混合系统,其可以进一步连接到挤出机,材料可以被轻松推入挤出机或热端工具头中。
对于未来全彩3D打印机将如何发展,微软团队并没有做出回答。但是该团队表示,目前的试验仅仅是使用了三个颜色进行混合打印,但是未来配置可以扩展到四种、五种,甚至更多。事实上,微软这项3D打印技术专利的成功申请代表了3D打印系统向前迈进了一大步,或许将会成为改变全彩3D打印的革命性技术。
