少儿编程 > 文章资讯 > 3D打印 > 微软获得混合CMYKW材料的全彩色3D打印专利
微软获得混合CMYKW材料的全彩色3D打印专利
童程童美 2016-11-14
许多用户希望可以放心使用双挤出通道的两种颜色的3D打印装置,而不必害怕可怕的渗出(即颜色滴在不属于他们的地方,比如家里)。 虽然这种双挤出FDM 3D打印正在变得越来越多,而Microsoft则在积极寻求改进——他们刚刚获得了一项新的3D打印技术的专利。
摘要许多用户希望可以放心使用双挤出通道的两种颜色的3D打印装置,而不必害怕可怕的渗出(即颜色滴在不属于他们的地方,比如家里)。 虽然这种双挤出FDM 3D打印正在变得越来越多,而Microsoft则在积极寻求改进——他们刚刚获得了一项新的3D打印技术的专利,该技术创建了3D打印材料与2D打印机的CMYK颜色加白色的混合物,允许3D打印出任何想要的颜色。
当然,专利并不能立即转化为3D打印硬件;可能需要几年才能见到曙光,而微软甚至可以通过提交专利而脱离竞争对手。尽管如此,这是一个非常棒的创意,并被批准为美国专利9,434,108。它是由Yulin Jin,Emmett Lalish,Kris N. Iverson,Jesse McGatha和Shanen J. Boettcher代表微软技术许可提交的。 Iverson表示:“这表明微软将持续投资改善3D世界的最新技术。”
专利涵盖了用于混合CMYKW(青色,品红色,黄色,或黑白)3D可打印材料并且将该设计从计算机软件表达到物理设备(从CAD建模到3D打印)的各种技术。
许多现有技术已经允许用户3D打印彩色物体,但是这些技术与2D彩色打印机不同,缺乏在色彩空间中表达全色域的能力。 “此外,目前还没有一种常规技术能够准确地确定打印哪种颜色,因为它们不能将全色模型转换为机器指令(以3D打印),”据微软团队报道。 “这些常规技术限制全色三维物体制造。
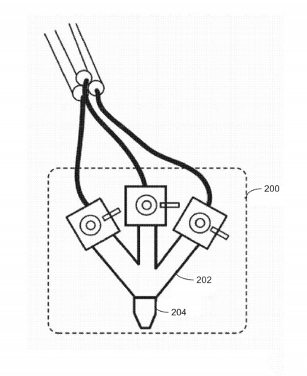
Windows团队将颜色信息附加到每个切片层和多边形上,它们将基于表面颜色,纹理上的颜色和/或渐变颜色在每个层上生成二维多边形。他们的技术进一步确定了有色制造物体配色方案的方式,但未指定的3D打印材料(可以是塑料或者树脂)。一种颜色的所有多边形在切换颜色之前进行3D打印,同时也可以平滑全彩色的外部图层。此外,过渡材料沉积在填充区域,也用于支撑结构。
专利包括一个全新的3D打印管理系统。系统存储3D打印对象及其颜色数据进行切片的代码,并且可以在各种平台上存储该数据。每个2D多边形进一步列为单一类型的材料,尽管这些材料现在还未指定。
虽然在纸面上看起来不错,但实际上3D打印这么大量的数据是完全不同的。因此,本专利设想了一种进一步连接到挤出通道非特定材料混合系统。然而,实际的3D打印技术可以采取几种形状,笛卡尔或其他。 “也可以使用其他坐标系,例如极坐标系等,”他们报道。“材料可以被推入或拉入印刷挤出机或热端工具头中,并且马达可以被安装得更远,以便将材料推过薄的引导管进入室中。”
因此,对于微软如何打造这种全彩色3D打印机,目前还没有确定说法,甚至不清楚将使用多少种颜色混合物。一个示例包括三种颜色,但是他们立即补充说,这样的配置可以扩展到四种,五种或六种各种不透明的着色材料,例如“包括可选的半透明材料”。但是有一点是显而易见的:该专利迈向3D打印系统的第一步,将永远改变彩色对象的生产。完整的专利可以在这里找到。
