少儿编程 > 文章资讯 > 3D打印 > 洛克希德马丁为其3D打印钻石技术申请专利
洛克希德马丁为其3D打印钻石技术申请专利
童程童美 2016-10-31
近日,美国航天军工巨头洛克希德·马丁为一种新型的3D打印技术申请了专利,该技术据称可以打印出任何形状的人造钻石对象。据称该技术将主要用于开发诸如超强钻头、轻型装甲、刀、锯这样的工具,不过也可以用来定制珠宝首饰等。
摘要近日,美国航天军工巨头洛克希德·马丁为一种新型的3D打印技术申请了专利,该技术据称可以打印出任何形状的人造钻石对象。据称该技术将主要用于开发诸如超强钻头、轻型装甲、刀、锯这样的工具,不过也可以用来定制珠宝首饰等。
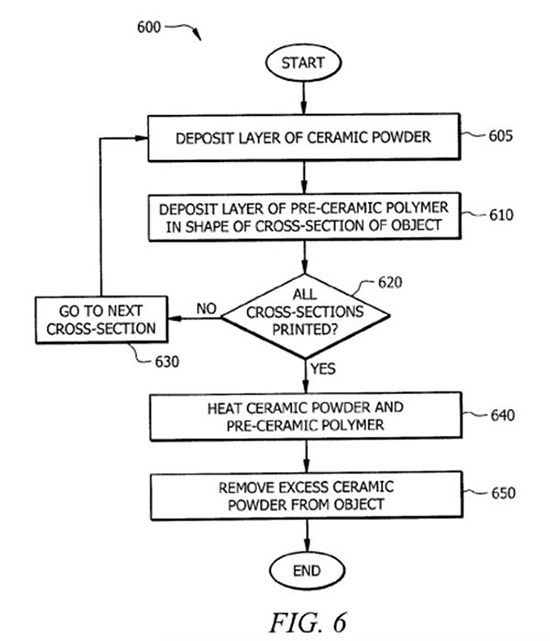
据了解,洛克希德·马丁公司的这项专利,是在今年4月4日由发明者David G. Findley申请的。该专利申请描述了一种全新的3D打印方法,该方法能够使用一种陶瓷预制体聚合物和纳米填料创建出几乎任何形状的人造钻石对象。根据这项专利申请,基于该技术的3D打印机将交替层积一种陶瓷粉末和溶解在溶剂中的一种陶瓷预制体聚合物。该聚合物的每一层在沉积之后,会在超过100摄氏度的温度下进行烘烤。这个过程会反复进行,直到整个3D对象打造完成,然后多余的陶瓷粉末会被去除掉。
说到这里,您可能会说,这种陶瓷3D打印技术也不稀罕啊。但是,洛克希德·马丁专利中使用的一种特殊的金刚石成形陶瓷预制体聚合物却可以用于创建3D打印的金刚石对象。而且这一工艺可以用于创建一些非常耐用的物品,比如钻头、锋利的物体,甚至轻型装甲等。此外,该3D打印机也可以使用不同材料的组合来创建对象,比如用“多种类型的陶瓷预制体聚合物和多种类型的陶瓷粉末”相结合,提供各种先进的特性。
“钻石是已知材料中最硬的,具有高熔点和沸点,而且是优良的热导体以及电绝缘体。”该专利宣称:“那些用钻石做成的对象将能够利用这些出色的属性。钻石可以以各种方式制造,包括以一种钻石纳米颗粒的粉末形式,或者通过陶瓷预制体聚合物的高温分解等。”
其它可以使用该专利3D打印机创建的项目还包括刹车片、航空箱、钻石透析过滤器、真空微电子器件等。而3D打印珠宝行业无疑也将获得一大助力。
不过这只是一个专利申请而已,洛克希德·马丁是真的开发出了这样一种神奇的3D打印技术,还是仅提出了这样一种概念,还有待进一步验证。该专利的名称是“使用一种陶瓷预制体聚合物和纳米颗粒填料的3D钻石打印(3-D Diamond Printing Using a Pre-Ceramic Polymer with a Nanoparticle Filler)”。
